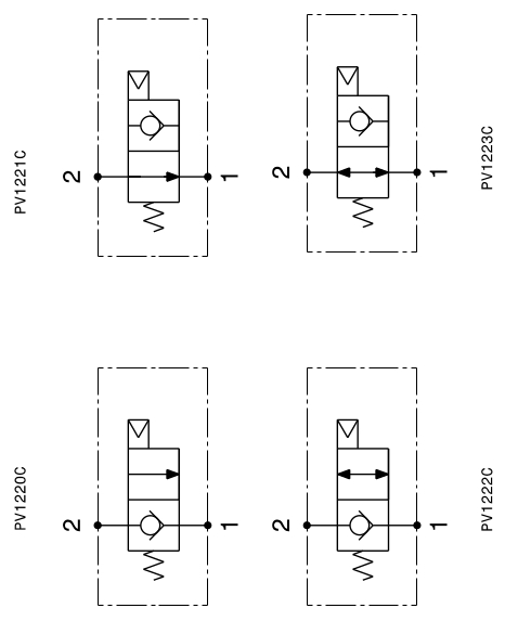
PV-12-2X-C

Directional valve, pneumatic operated, normally closed – cartridge type
PV-12-2X-C
Download the PDF
PNEUMATIC VALVE
PV-12-2X-C
Directional valve, pneumatic operated, normally closed – cartridge type

Maximum flow

100 l/min
26 gpm

Maximum pressure

250 bar
3600 psi

Maximum pressure (Y)

350 bar
5000 psi

Installation torque

80÷100 Nm
60÷75 lbf ft
 

Performaces and calibrations are carried out by using hydraulic oil with 30 cSt viscosity at 50°C (122 F).
Recommended viscosity 10 ÷ 420 cSt
Working temperature -20 ÷ +90 °C (-4 F ÷ +194 F)
Absolute filitration 25 μm