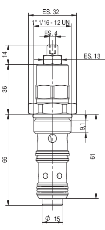
OVC60-C

Valvola overcentre a cartuccia
OVC60-C
Scarica il PDF
CARTUCCE
OVC60-C
Valvola overcentre a cartuccia
Portata massima 60 l/min
Pressione massima 350 bar
Rapporto di pilotaggio standard 4,25:1
Rapporti di pilotaggio a richiesta 3:1 8:1 10:1
Coppia di serraggio 110÷120 Nm
 
Taratura La valvola deve essere tarata almeno 1,3 volte la massima pressione indotta dal carico
Codice Taratura standard
bar (Q= 5l/min)
Campo di taratura
bar
Colore molla
01 100 20÷200 Bianco
02 280 50÷350 Nero
 

Dati e tarature ottenuti usando olio con viscosità 30 cSt a 50°C
Viscosità consigliate 10 ÷ 420 cSt
Temperature di lavoro -20 ÷ +90 °C
Filtrazione assoluta 25 μm

Esempi di ordinazione: OVC60C02

codice
descrizione
portata max
pressione max
cavità

(sigla di ordinazione)

l/min

gpm

bar

psi

OVC00001
OVC60C01
60
15.85
350
5076
OVC00002
OVC60C02
60
15.85
350
5076
OVC00055
OVC60CF01
60
15.85
350
5076
OVC00056
OVC60CF02
60
15.85
350
5076
OVC00468
OVC60C02 R.P.10:1
60
15.85
350
5076
OVC00475
OVC60C02 110 BAR
60
15.85
350
5076
OVC00589
OVC60C02 R.P.8:1
60
15.85
350
5076
OVC00772
OVC6012C01D
60
15.85
350
5076